Matrix-II
Главная информация
Считыватель MATRIX-II применяется в системах контроля доступа в качестве считывателя бесконтактных карт PROXIMITY стандарта EM-Marine и преобразования кода считываемой карты в код Dallas Touch Memory и Wiegand 26. С СКУД возможно одновременное использование карт два стандарта EM-Marine и. на скопированный номер карты, он передает на контроллер номер самой карты, а не клонированный номер. Это исключит прохождение дублированных карт. При этом не исключена возможность использования карт в системе под оригинальными номерами. ET Темик (T5557)
Защита от клонирования карт EM-Marine
защита клонирования от эмулируемых карт EM-Marine с помощью Temic (T5557).

Технические характеристики
Идентификаторы:
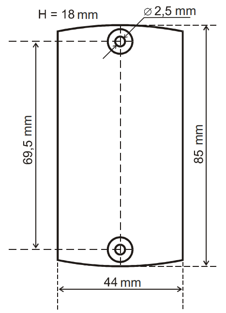
Карты EM-Marine и Temic Автоматическое определение стандарта карты без дополнительных настроек. Дальность считывания карт/брелоков - 6-14 см: Протокол вывода: -Dallas Touch Memory -Wiegand-26 Удаленность считывателя от контроллера в режиме Dallas Touch Memory, до 15м Расстояние считывателя от контроллера в режиме Wiegand , до 100м Подтверждение проведения карты: звуковой сигнал, двухцветный светодиод Индикация: внутренняя и от внешнего управления Напряжение питания: 8 - 18 В пост. тока Потребление тока в режиме ожидания карты, не более: 35мА Рабочая температура (в помещении): от -40С до +50С Относительная влажность, не более: 95% Габариты: 85х44х18мм.
Работа считывателя
Работа считывателя без использования управления внешней индикацией (внутренняя индикация):
- Всегда, когда в поле считывателя нет карты, горит красный светодиод.
- В момент поднесения карты красный светодиод гаснет и мигает зеленый и короткий звук.
- Пока карта находится в поле световая индикация отсутствует.
Внешнее управление красными, зелеными светодиодами и звуком осуществляется замыканием на общий контакт. Внешняя индикация может работать совместно с внутренней индикацией, т.е. внешнее управление исключает только тот канал, по которому замечено внешнее управление.
Особенности работы считывателя с контроллером MATRIX-II ET Z-5R
Считыватель подключается к контроллеру через эмуляцию). Индикация и звук с контроллера управляются по проводу
Условия эксплуатации
Температура окружающей среды: -30…40°С.
Влажность: 98% при 25°С.
При работе в нерекомендуемых условиях параметры устройства могут отклоняться от заданных значений.